错误 #4268
[3.0产品测试] 网管上“PHY异常”告警与实际原因不一样,需要更新告警名称
开始日期:
2025-10-17
计划完成日期:
% 完成:
0%
预期时间:
问题归属:
DU
发现问题版本:
Rel_3.1.3
目标解决问题版本:
Rel_3.1.4
描述
【3.0基站_5.8G】军特整机
测试版本:Rel_3.1.3_Pre1T6
测试设备:核心网 192.168.8.219 基站 192.168.8.234,网管:192.168.8.170
测试场景:5.8G 下行大容量单用户UDP峰值(7D2U))
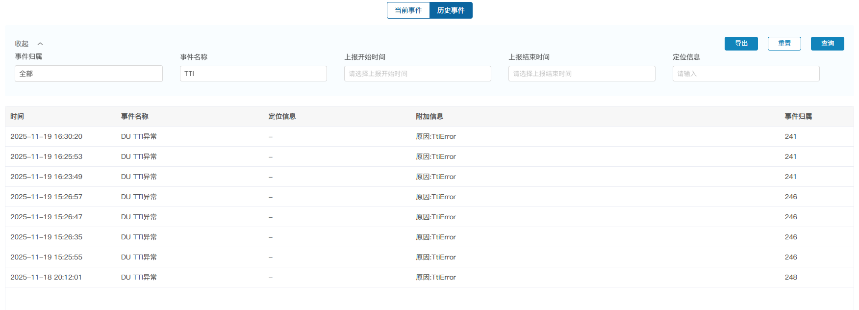
问题描述:小区启动后,下行灌包700M,网管上有phy异常告警,实际上phy模块工作正常
研发分析:问题是DU处理TTI调度任务偶尔存在超时,影响不大,这个告警名称取的不太好,后续版本修改
文件
