错误 #4827
3.1.5pre1T2版本下行四端三流配置开启PMI自适应后MCS降低
开始日期:
2026-01-31
计划完成日期:
% 完成:
0%
预期时间:
问题归属:
DU
发现问题版本:
Rel_3.2.1
目标解决问题版本:
Rel_3.2.1
描述
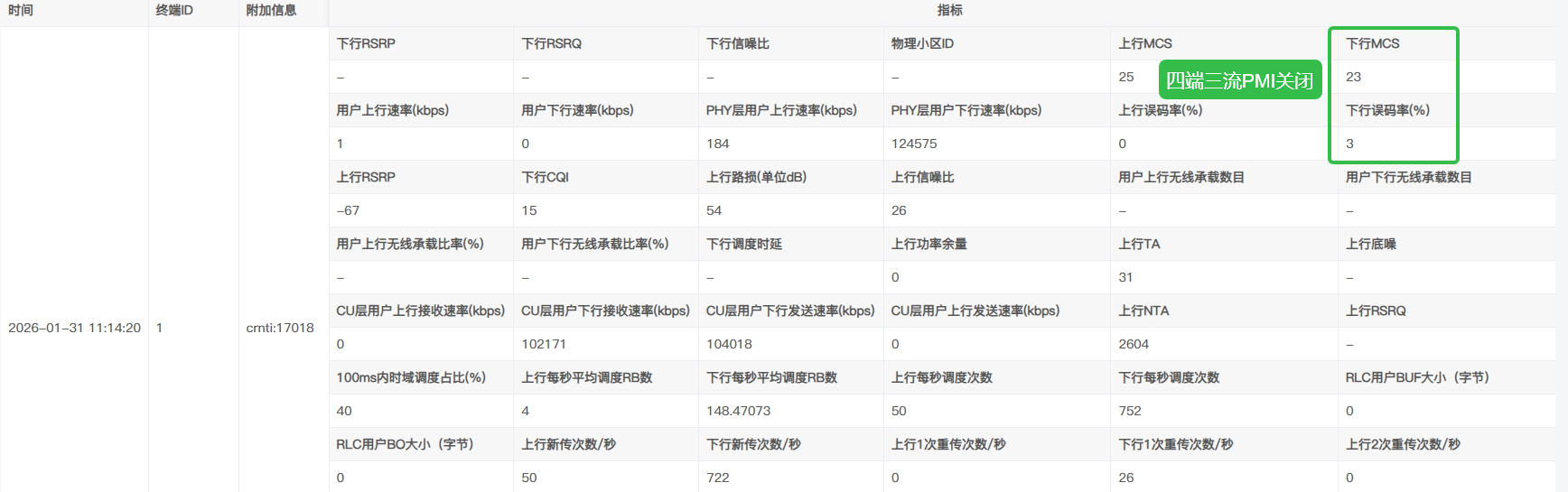
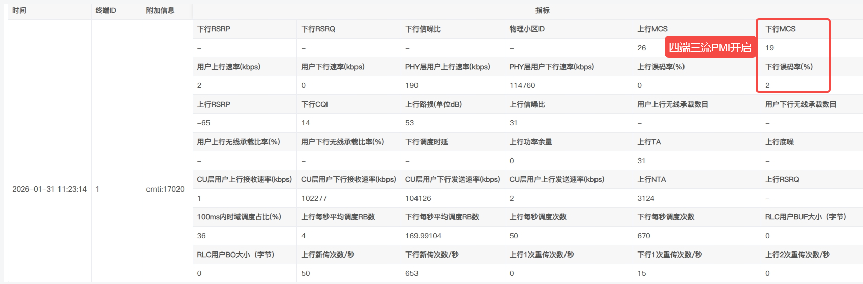
【问题描述】3.1.5pre1T2版本下行四端三流配置,开启下行PMI自适应后相对没开启时MCS降低;

文件
相关的问题
历史记录
由 孙 浩 更新于 大约一个月 之前
- 文件 PMI开启前后对比.png PMI开启前后对比.png 已添加
- 文件 pmi_cfg.ini文件.png pmi_cfg.ini文件.png 已添加
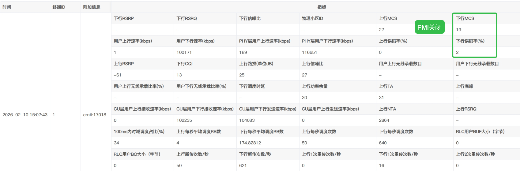
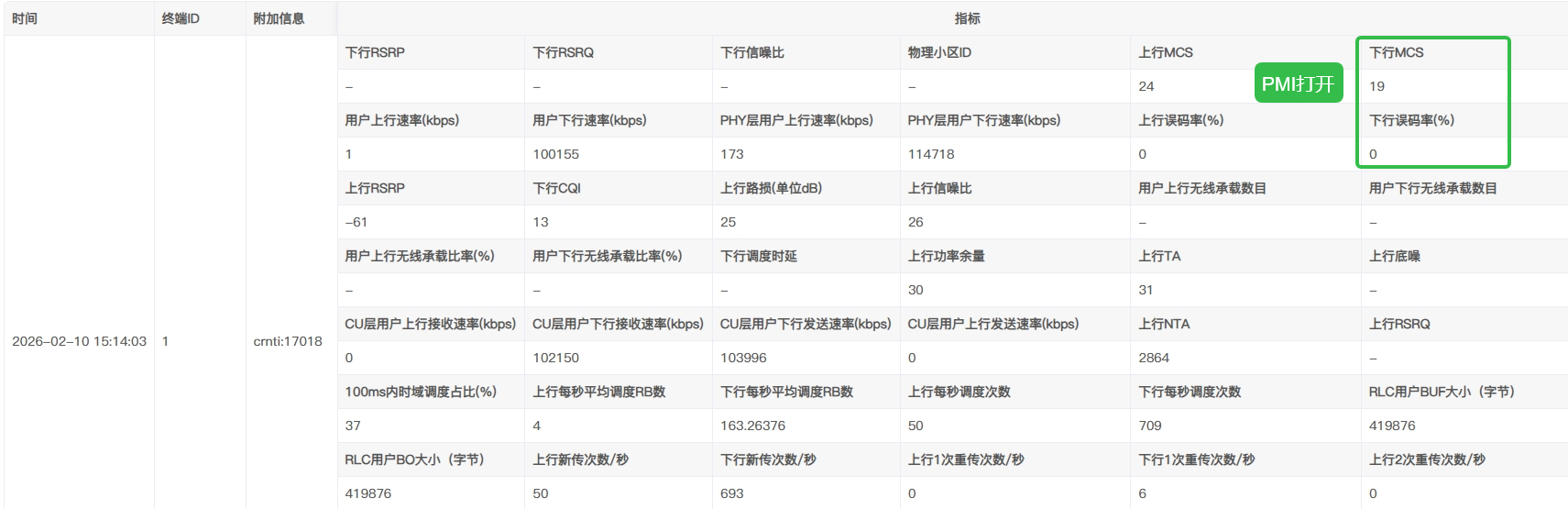
基于3.1.5pre1T2版本,修改pmi_cfg.ini文件的PMI_79矩阵后,下行四端三流配置,开启下行PMI自适应后下行MCS相当(下行误码率稍有提升),符合预期;

由 孙 浩 更新于 大约一个月 之前
- 文件 PMI关闭.png PMI关闭.png 已添加
- 文件 PMI打开.png PMI打开.png 已添加
- 文件 一体化下行四端三流PMI自适应-0210.rar 一体化下行四端三流PMI自适应-0210.rar 已添加
- 状态 从 转测试 变更为 已解决
在3.2.1_Pre1T2版本,下行四端三流配置,开启下行PMI自适应后下行MCS相当(下行误码率稍有提升),符合预期;

