错误 #4893
3.2.1pre1T2版本下行四端双流配置开启PMI自适应后MCS降低
开始日期:
2026-02-11
计划完成日期:
% 完成:
0%
预期时间:
问题归属:
DU
发现问题版本:
Rel_3.2.1
目标解决问题版本:
Rel_3.2.1
描述
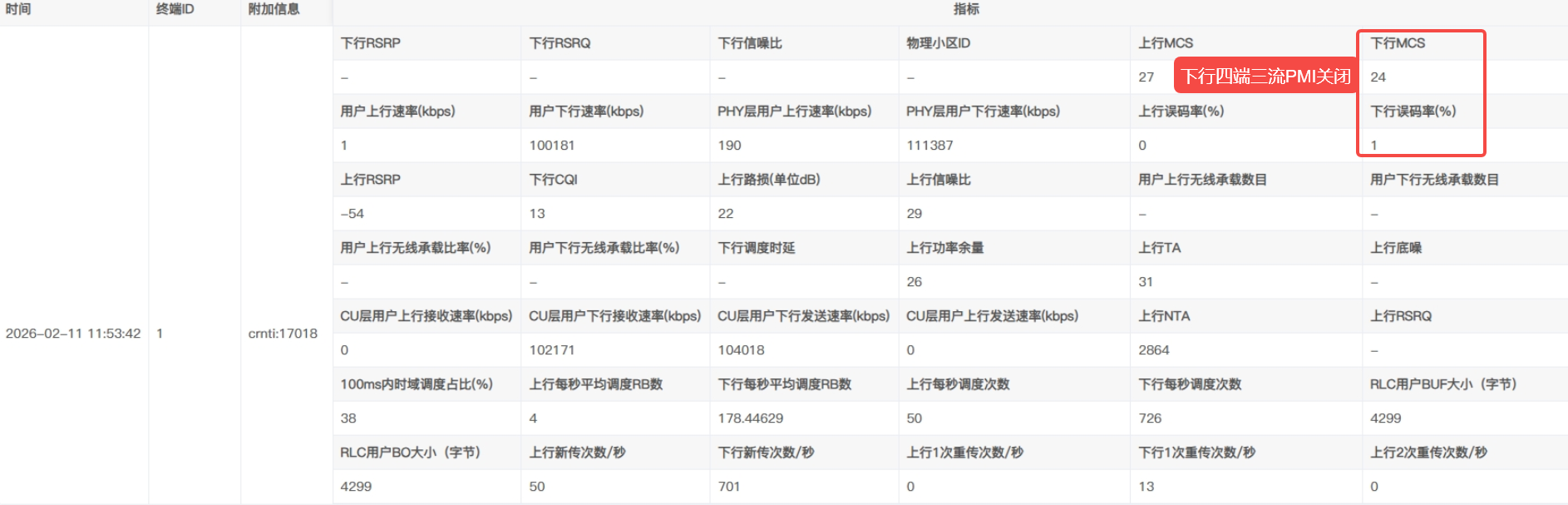
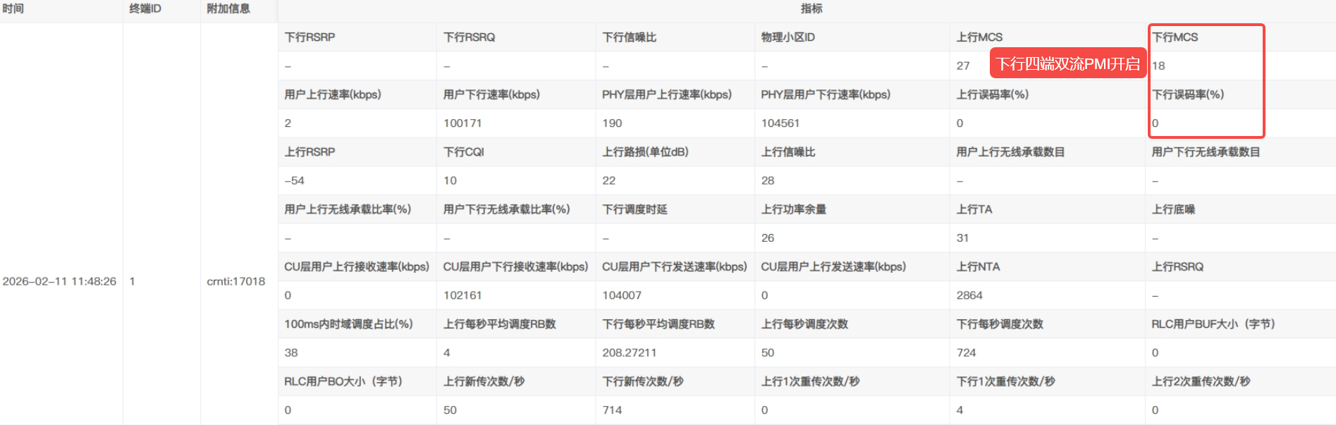
【问题描述】3.2.1pre1T2版本下行四端双流配置开启PMI自适应后MCS降低;

文件
相关的问题
历史记录
由 孙 浩 更新于 3 个月 之前
- 文件 下行四端双流PMI关RANK关.png 下行四端双流PMI关RANK关.png 已添加
- 文件 下行四端双流PMI开RANK开.png 下行四端双流PMI开RANK开.png 已添加
- 文件 下行四端四流PMI自适应(RANK开)-0212.rar 下行四端四流PMI自适应(RANK开)-0212.rar 已添加
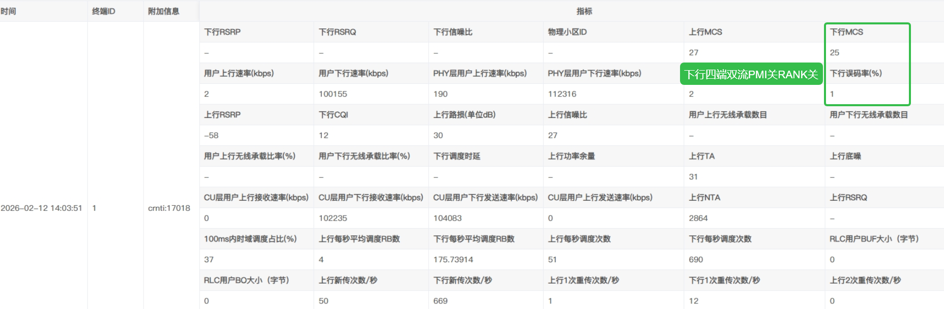
采用解决方案2:rank自适应打开时,只在csi 上报的流数小于网管上下行流数的时候改变pmi索引,测试情况如下:
基于3.2.1pre1T2版本,替换gnb_du包,下行四端双流配置下关闭与开启下行PMI及RANK自适应前后下行MCS稍有提升,符合逻辑;
