错误 #4894
3.2.1pre1T2版本下行四端四流配置开启PMI自适应后MCS降低
开始日期:
2026-02-11
计划完成日期:
% 完成:
0%
预期时间:
问题归属:
DU
发现问题版本:
Rel_3.2.1
目标解决问题版本:
Rel_3.2.1
描述
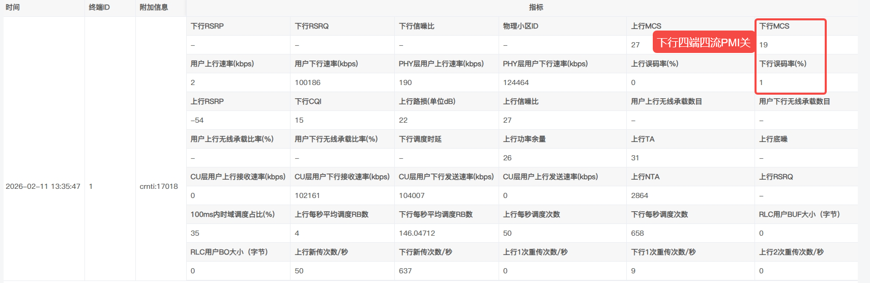
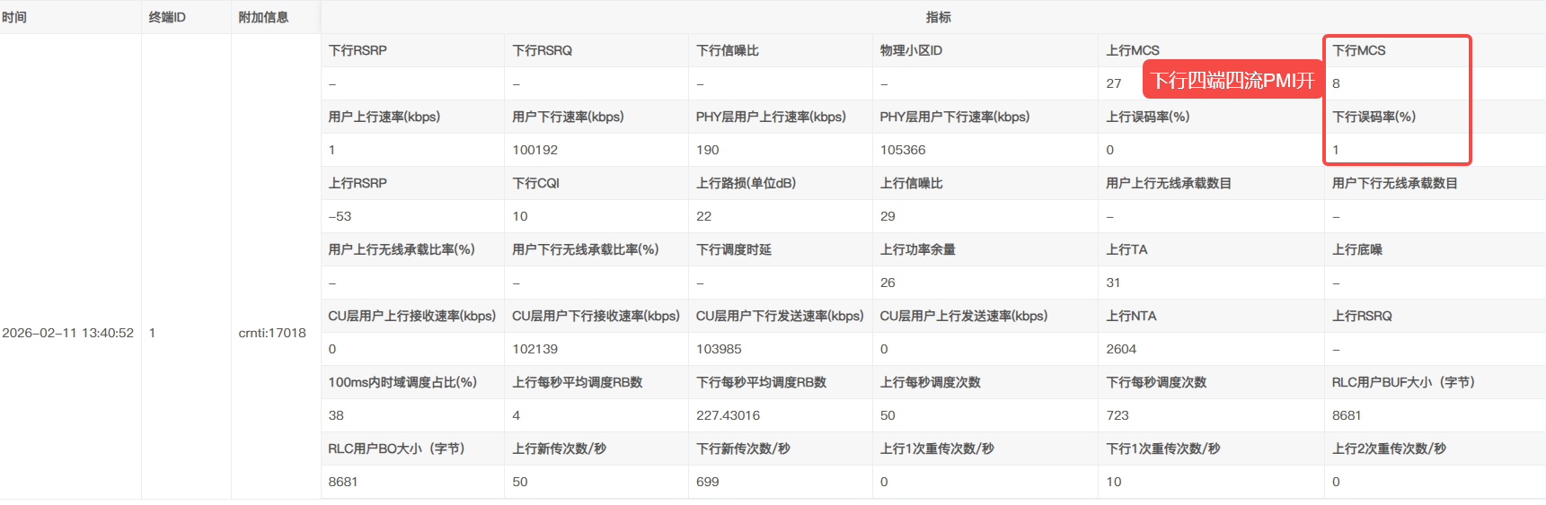
【问题描述】3.2.1pre1T2版本下行四端四流配置开启PMI自适应后MCS降低;
【问题分析】du日志分析是终端上报的csipmi值不符合下行PMI映射规则;


文件
相关的问题
历史记录
由 孙 浩 更新于 3 个月 之前
- 文件 四流四流PMI关.png 四流四流PMI关.png 已添加
- 文件 四流四流PMI开.png 四流四流PMI开.png 已添加
- 文件 下行四端四流PMI自适应-0211.rar 下行四端四流PMI自适应-0211.rar 已添加
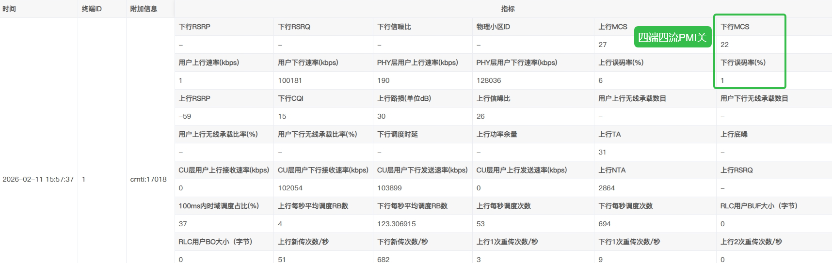
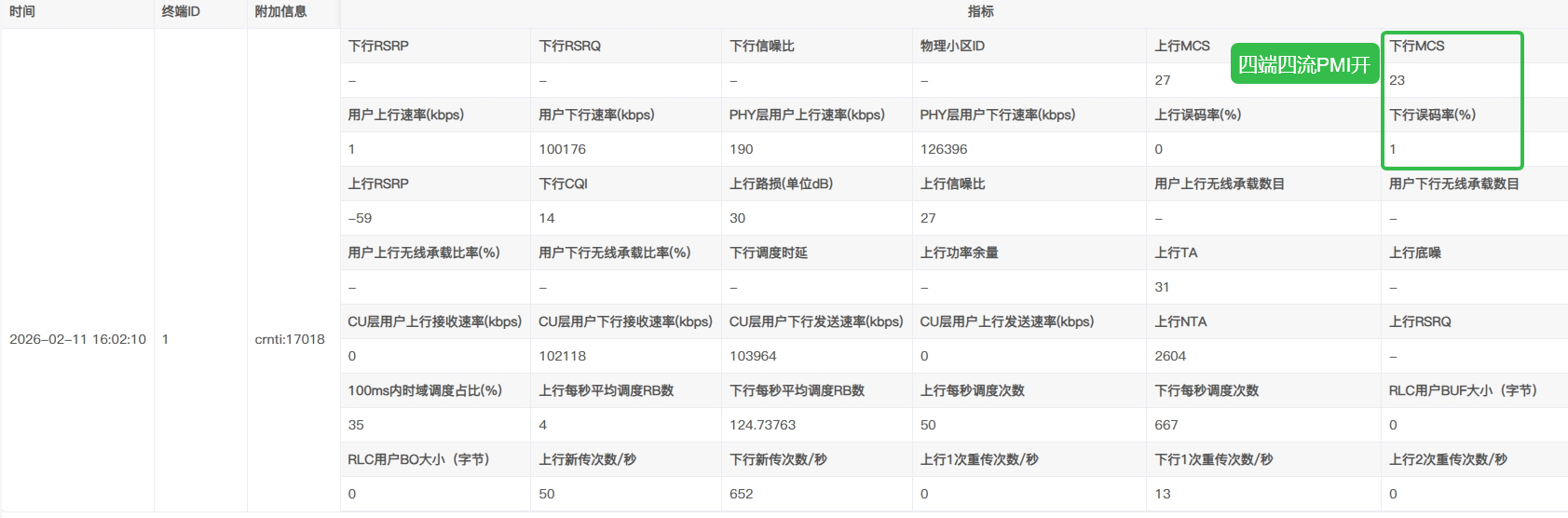
基于3.2.1pre1T2版本,替换gnb_du包,下行四端四流配置下关闭与开启下行PMI前后下行MCS稍有提升,符合逻辑;
